Foram encontradas 100 questões.
Na aplicação dos sistemas de proteção contra descargas atmosféricas, o método mais indicado para edificações com altura relativamente baixa, porém com uma grande área horizontal, é o Método
Provas
Para funcionar com desempenho satisfatório e ser suficientemente segura contra risco de acidentes fatais, toda instalação elétrica de alta e baixa tensão deve possuir um sistema de aterramento, dimensionado adequadamente para as condições de cada projeto. Dentre os objetivos abaixo, qual NÃO diz respeito aos propósitos de um sistema de aterramento?
Provas

Considerando os esquemas de aterramento normalizados pela NBR 5410, a figura acima representa o esquema
Provas
Os motores monofásicos têm esta denominação porque os seus enrolamentos de campo são ligados diretamente a uma fonte monofásica. Dentre os vários tipos de motores elétricos monofásicos, os motores com rotor de gaiola destacam-se pela simplicidade de fabricação e, principalmente, pela robustez, confiabilidade e manutenção reduzida. Dentre os motores abaixo, NÃO corresponde a um motor monofásico de gaiola o de
Provas
Dentro dos circuitos de acionamentos de máquinas, é comum o uso de relés para controle de acionamentos, alarmes, proteção, entre outros. Considerando estes relés, analise as afirmativas a seguir.
I - Os relés de tempo estrela-triângulo são específicos para utilização em controle de partida de motores monofásicos e trifásicos que utilizam chaves automáticas estrela-triângulo, com controles de tempos precisos e reduzido espaço físico.
II - Os relés de proteção térmica são destinados à proteção de motores e equipamentos contra elevação de temperatura e operam com sensores do tipo PTC, cuja característica é reduzir bruscamente sua condutividade elétrica para um valor preciso de temperatura.
III - Os relés de falta de fase com e sem neutro são destinados à proteção de sistemas monofásicos e trifásicos contra queda de fase (ou neutro) e assimetria modular de tensão que compromete o funcionamento de motores.
Está correto o que se afirma em
Provas

A figura acima mostra o esquema de montagem de um modelo genérico de um dispositivo de proteção. Esse dispositivo corresponde a um
Provas

De acordo com a NBR 5410, para garantir uma coordenação entre condutores e os dispositivos de proteção contra sobrecarga, devem ser considerados os parâmetros, IZ, IB, IN e I2, mostrados na figura acima.
Sendo:
IB – corrente de proteção do circuito
IZ – capacidade de condução de corrente dos condutores
IN – corrente nominal do dispositivo de proteção
I2 – corrente que assegura efetivamente a atuação do dispositivo de proteção
Observando a ordem dos parâmetros na escala hipotética da figura, para que a proteção dos condutores contra sobrecargas fique assegurada, serão necessárias as seguintes correspondências:
Provas

Com base nos dados da placa de um motor de indução, apresentados na figura acima, o valor do número de polos e o do escorregamento, em percentuais, são, respectivamente,
Provas

A figura acima mostra uma disposição típica de instrumentos e dispositivos para se obterem os dados do ensaio a curto-circuito de um transformador. Sabendo-se que o transformador é de 500 kVA, 2500/250 V e as leituras dos instrumentos são: Vc = 100 V, Ic = 200 A e Pc = 16 kW, o valor da impedância equivalente (Zeq), que representa as perdas nos enrolamentos primário e secundário, referido ao lado de baixa tensão, é dado por
Provas

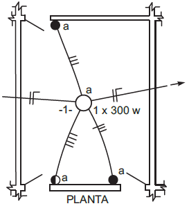
A figura acima mostra o esquema de ligação de uma lâmpada acionada por dois interruptores paralelos (Tree-way) e um interruptor intermediário (Four-way). A planta correspondente ao esquema da figura está representada em
Provas
Caderno Container