Foram encontradas 60 questões.
Alcano é um tipo de hidrocarboneto que apresenta cadeia aberta e saturada, além de possuir apenas ligações simples. Qual a fórmula molecular de um alcano com 12 átomos de carbono?
Provas
Questão presente nas seguintes provas
2P + 5C!$ ell !$2 (g) !$ longrightarrow !$ 2PC!$ ell !$5 (g), !$ Delta !$H = −190,8 kcal
A equação termoquímica acima representa a reação de formação do elemento PC!$ ell !$5 (g). Qual o calor de formação desse elemento?
Provas
Questão presente nas seguintes provas
Uma amostra de um gás ideal recebeu calor de uma fonte, aumentando a sua temperatura em 2 vezes e meia. Nesse processo, foi realizado trabalho sobre o gás e seu volume foi reduzido à metade do volume inicial. Qual a pressão final do gás, em atm, sabendo-se que a pressão inicial era de 10 atm?
Provas
Questão presente nas seguintes provas
Uma nova escala de temperatura, conhecida por escala Y, foi criada com dois pontos fixos, a fusão do gelo a 100 ºY e a ebulição da água a 1.000 ºY. A quanto corresponde, na escala Y, a temperatura de 0 ºF?
Dado: Considere que os mesmos pontos fi xos são adotados na escala Fahrenheit, com valores respectivamente defi nidos como 32 ºF e 212 ºF.
Provas
Questão presente nas seguintes provas
Um corpo sólido se encontra no fundo de um recipiente que contém água. Adiciona-se uma certa massa de sal à água, aumentando a densidade, até que o corpo comece a flutuar, totalmente submerso. Considerando que a massa de água no recipiente é m = 100 g, que o volume de água e sal é sempre constante e igual a 100 cm3 e que a densidade do corpo é !$ μ !$ = 3,0 g/cm3, qual a massa, em gramas, de sal adicionada à água?
Provas
Questão presente nas seguintes provas

Um gás ideal sofre uma expansão reversível partindo do estado inicial A e evoluindo até o estado final C. Esse processo pode ser realizado por meio de três caminhos diferentes, conforme mostrado no gráfico acima. O caminho 1 consiste em uma expansão isobárica (AB), seguido de um processo isovolumétrico (BC). O caminho 2 consiste na expansão AC e o caminho 3 em um processo isovolumétrico AD, seguido de uma expansão isobárica (DC). Com relação à quantidade de calor recebido, afirma-se que,
Provas
Questão presente nas seguintes provas
Uma máquina térmica opera trocando calor com 2 reservatórios a temperaturas de, respectivamente, TQ = 500 K e TF = 100 K. De acordo com as leis da termodinâmica, qual o maior rendimento possível para uma máquina operar entre esses dois reservatórios?
Provas
Questão presente nas seguintes provas
Um gás ideal, ao receber calor de uma fonte térmica, executa um processo isotérmico no qual sua pressão final é 5 vezes maior do que a pressão inicial. Qual o volume e a temperatura finais do gás nesse processo?
Provas
Questão presente nas seguintes provas

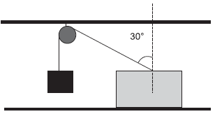
Um bloco de massa m1 = 1,0 kg está suspenso por um cabo inextensível, de massa desprezível, e ligado através de uma polia, também de massa desprezível, a outro bloco, de massa m2 = 2,0 kg, apoiado no solo. Considerando que os blocos estão em repouso, qual a força de atrito, em newtons, entre o chão e o bloco?
Dados: !$ sin !$ 30° = 1/2 e !$ cos !$ 30°=!$ sqrt3/2 !$
g = 10 m/s2
Provas
Questão presente nas seguintes provas
Um homem, no alto de um edifício de altura H = 30 m, lança uma pedra, obliquamente, para cima, com velocidade inicial de v = 10 m/s. Qual a altura máxima, em metros, com relação ao solo, atingida pela pedra no lançamento?
Dado: Considere g = 10 m/s2.
Despreze a ação de forças dissipativas.
Provas
Questão presente nas seguintes provas
Cadernos
Caderno Container