Magna Concursos

Foram encontradas 60 questões.

3066903 Ano: 2024
Disciplina: Engenharia Mecânica
Banca: CESPE / CEBRASPE
Orgão: TST

Enunciado 3532985-1

O diagrama precedente mostra a associação de duas bombas radiais iguais em paralelo, representando a curva característica da bomba A e a curva característica do sistema S em altura manométrica H e vazão Q.

No que se refere ao diagrama e a máquinas de fluxo, assinale a opção correta.

 

Provas

Questão presente nas seguintes provas
3066902 Ano: 2024
Disciplina: Engenharia Mecânica
Banca: CESPE / CEBRASPE
Orgão: TST

Enunciado 3532984-1

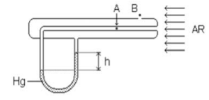
Assinale a opção correta acerca do esquema apresentado e de sistemas fluidomecânicos.

 

Provas

Questão presente nas seguintes provas
3066901 Ano: 2024
Disciplina: Engenharia Mecânica
Banca: CESPE / CEBRASPE
Orgão: TST
Considere que a teoria do dano acumulativo de fadiga de Palmgren-Miner, mais conhecida como regra de Miner, prevê que, se componentes mecânicos forem submetidos a blocos de ciclos de carga de diferentes amplitudes, a falha ocorrerá quando o dano total acumulado for igual a 1. Considere, ainda, que um componente de máquina fabricado com um aço, cuja curva S-N é dada pela equação Sf = 3.600 N−2, tenha sido submetido a 5000 ciclos de uma tensão alternada de 600 MPa de amplitude e será submetido a um carregamento adicional de 400 MPa de amplitude.

De acordo com a regra de Miner, é correto afirmar que o componente descrito terá, até a falha, uma vida remanescente
 

Provas

Questão presente nas seguintes provas
3066900 Ano: 2024
Disciplina: Engenharia Mecânica
Banca: CESPE / CEBRASPE
Orgão: TST
Assinale a opção correta, relativa à metrologia.
 

Provas

Questão presente nas seguintes provas
3066899 Ano: 2024
Disciplina: Engenharia Mecânica
Banca: CESPE / CEBRASPE
Orgão: TST
A fim de aumentar a resistência mecânica de uma peça metálica por meio de tratamento térmico, o engenheiro deve recomendar que peças de
 

Provas

Questão presente nas seguintes provas
3066898 Ano: 2024
Disciplina: Engenharia Mecânica
Banca: CESPE / CEBRASPE
Orgão: TST
Enunciado 3532980-1


A figura precedente mostra, esquematicamente, o sistema de refrigeração de um supercomputador, cuja finalidade é resfriar os circuitos eletrônicos, os quais estão imersos em um fluido dielétrico especial. Esse fluido é bombeado em circuito fechado através do computador, de um trocador de calor do tipo casco e de tubos. Durante a operação normal, o calor gerado dentro do computador é transferido ao fluido dielétrico, que, ao passar pelo trocador de calor, o transfere para a água fria, que circula pelos tubos do trocador. Os parâmetros do sistema são os seguintes:
Fluido dielétrico:
– taxa de fluxo: mf= 4,0 kg/s – calor específico: cpf = 1300 J/kg.K; – temperatura de entrada no trocador de calor: Tfe= 25 °C – temperatura de saída no trocador de calor: Tfs= 15 °C
Água fria:
– taxa de fluxo: mA= 2,5 kg/s – temperatura de entrada no trocador de calor: TAe = 7 °C; – calor específico da água fria: cpA= 4160 J/kg.K

Considerando os dados apresentados, é possível afirmar que a taxa de transferência de calor Q e a temperatura de saída da água fria TAS no trocador de calor serão iguais, respectivamente, a
 

Provas

Questão presente nas seguintes provas
3066897 Ano: 2024
Disciplina: Engenharia Mecânica
Banca: CESPE / CEBRASPE
Orgão: TST
Uma máquina térmica recebe 520 kJ de calor por ciclo de uma fonte a 287 °C e rejeita calor para um dissipador a 7 °C em quantidades hipotéticas de: (A) 390 kJ por ciclo; (B) 260 kJ por ciclo e (C) 160 kJ por ciclo.

Considerando essas três hipóteses, assinale a opção correta.
 

Provas

Questão presente nas seguintes provas
3066896 Ano: 2024
Disciplina: Engenharia Mecânica
Banca: CESPE / CEBRASPE
Orgão: TST
Enunciado 3532978-1




A figura precedente mostra os perfis de velocidade, em um duto de 80 mm de diâmetro, de três fluidos A, B e C, com os seguintes valores de densidade ρ e viscosidade dinâmica µ: fluido A: ρ = 790 kg/m3 e µ = 1,0×10−3 N∙s/m2 ; fluido B: ρ = 960 kg/m3 e µ = 0,65 N∙s/m2 ; fluido C: ρ = 13.600 kg/m3 e µ = 1,53×10−3 N∙s/m2 . Os três fluidos escoam na mesma velocidade média Vm = 0,5 m/s e na mesma temperatura de 25 °C.

Com base nessas informações, assinale a opção correta.
 

Provas

Questão presente nas seguintes provas
3066895 Ano: 2024
Disciplina: Engenharia Mecânica
Banca: CESPE / CEBRASPE
Orgão: TST

Enunciado 3532977-1

O número de graus de liberdade do mecanismo esquematizado na figura precedente é igual a

 

Provas

Questão presente nas seguintes provas
3066894 Ano: 2024
Disciplina: Engenharia Mecânica
Banca: CESPE / CEBRASPE
Orgão: TST
Sabendo-se que volantes de inércia são usados para estabilizar o regime de operação de máquinas rotativas e considerando-se um volante na forma de disco com massa de 70 kg e 600 mm de diâmetro que gira a 600 rpm em torno do seu eixo central, é correto afirmar que
 

Provas

Questão presente nas seguintes provas