Magna Concursos
3868504 Ano: 2024
Disciplina: Engenharia Civil
Banca: URCA
Orgão: Pref. Várzea Alegre-CE
Provas:

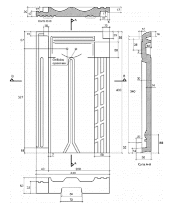
A figura a seguir refere-se a uma telha cerâmica do tipo:

Enunciado 4850304-1

 

Provas

Questão presente nas seguintes provas