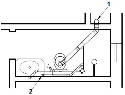
Considere a figura que mostra as instalações prediais de esgoto de um dos sanitários de um edifício.

Os números 1 e 2 representam, respectivamente, um tubo de queda de esgoto que conduz verticalmente os dejetos para a rede de esgoto primário e uma tubulação de ventilação disposta para evitar o retorno de odores dos gases provenientes da tubulação do sistema de esgoto secundário.