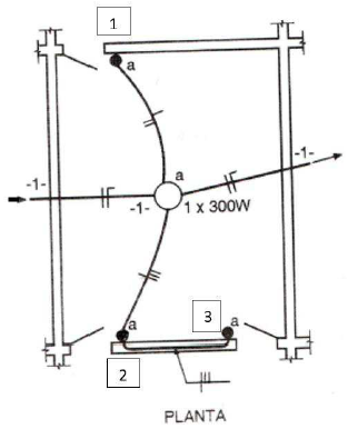
Observe atentamente a figura a seguir que corresponde a um esquema unifilar.

Em relação aos dispositivos indicados como 1, 2 e 3, pode-se afirmar:
Observe atentamente a figura a seguir que corresponde a um esquema unifilar.

Em relação aos dispositivos indicados como 1, 2 e 3, pode-se afirmar: