Magna Concursos
3589968 Ano: 2025
Disciplina: Engenharia Elétrica
Banca: CESPE / CEBRASPE
Orgão: ANM

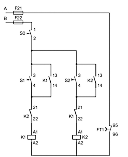
Enunciado 3589968-1

Com base no diagrama de comando para partida de motor de indução, acima apresentado, julgue os itens a seguir.

O diagrama apresentado corresponde a um esquema de acionamento que viabiliza a inversão do sentido do giro sem intertravamento.

 

Provas

Questão presente nas seguintes provas