
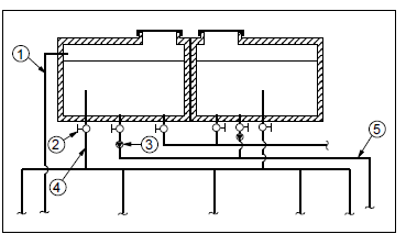
Considerando a parte de uma instalação de água fria de um prédio esquematizada na figura acima, é correto afirmar que o componente

Considerando a parte de uma instalação de água fria de um prédio esquematizada na figura acima, é correto afirmar que o componente