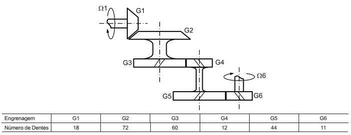
A Figura abaixo representa um arranjo de engrenagens onde um torque é fornecido ao eixo da engrenagem G1.

Nesse arranjo de engrenagens, a razão Ω6/Ω1 entre as velocidades é
A Figura abaixo representa um arranjo de engrenagens onde um torque é fornecido ao eixo da engrenagem G1.

Nesse arranjo de engrenagens, a razão Ω6/Ω1 entre as velocidades é