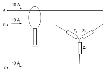
As correntes de linha medidas nas fases A, B e C do circuito que alimenta a carga trifásica equilibrada
mostrado na figura abaixo possuem módulo igual a 10 A e estão defasadas de 120°. Ao colocar um volt-amperímetro
na escala de corrente envolvendo as fases A e B o valor medido é igual a:

