Magna Concursos
Questões
Planos
Entrar
Entrar
Criar Conta
Respondida
2370838
Ano:
2006
Disciplina:
Física
Banca:
Marinha
Orgão:
Col. Naval
Provas:
Aluno do Colégio Naval
Provas
×
Mecânica Clássica
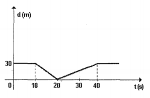
Observe o gráfico:
Analisando-se o deslocamento de um carro, numa trajetória, apresentado no gráfico acima, é correto afirmar que
A
o movimento do carro é a favor da trajetória entre 10s e 20s.
B
o carro possui velocidade constante e positiva entre Os e 10s.
C
o carro possui movimento uniformemente variado entre 10s e 20s.
D
no instante 20s, o carro está parado.
E
o carro tem movimento retilíneo e uniforme entre 20s e 40s.
Questão Anulada e Desatualizada
Resolver
Comentários
0
×
Cadernos
×
Flashcards
×
Estatísticas
×
Reportar um erro
×
Provas
Questão presente nas seguintes provas
Aluno do Colégio Naval
90 Questões
Resolver Prova
Publicar
Responder
Qual o problema da questão?
Selecione uma opção
Questão Desatualizada
Questão Repetida
Gabarito Errado
Outros Motivos
Mensagem
Enviar
Acessar
Criar Conta
Acesse sua Conta
Google
Facebook
Esqueci minha senha
Acessar
Ainda não tem conta?
Crie uma
!
Crie uma Conta
Criar Conta
Olá, para continuar, precisamos criar uma conta!
É
rápido
e
grátis
.
Google
Facebook
Concordo com os
Termos de Uso
Criar
Já tem uma conta?
Acesse aqui