Magna Concursos
Questões
Planos
Entrar
Entrar
Criar Conta
Respondida
2389584
Ano:
2010
Disciplina:
Mecânica de Autos
Banca:
VUNESP
Orgão:
TJ-SP
Provas:
Agente Operacional Judiciário - Eletricista de Autos
Provas
×
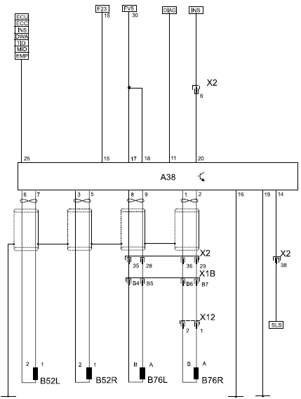
Freios
O esquema elétrico do sistema de freios ABS possui várias letras e números. Assinale a alternativa que apresenta o significado das siglas B52 e B76.
A
Sensor de travamento da roda.
B
Sensor de velocidade da roda.
C
Lâmpada de freio.
D
Lâmpada piloto do painel.
E
Sensor de pressão hidráulica.
Resolver
Comentários
0
×
Cadernos
×
Flashcards
×
Estatísticas
×
Reportar um erro
×
Provas
Questão presente nas seguintes provas
Agente Operacional Judiciário - Eletricista de Autos
50 Questões
Resolver Prova
Publicar
Responder
Qual o problema da questão?
Selecione uma opção
Questão Desatualizada
Questão Repetida
Gabarito Errado
Outros Motivos
Mensagem
Enviar
Acessar
Criar Conta
Acesse sua Conta
Google
Facebook
Esqueci minha senha
Acessar
Ainda não tem conta?
Crie uma
!
Crie uma Conta
Criar Conta
Olá, para continuar, precisamos criar uma conta!
É
rápido
e
grátis
.
Google
Facebook
Concordo com os
Termos de Uso
Criar
Já tem uma conta?
Acesse aqui