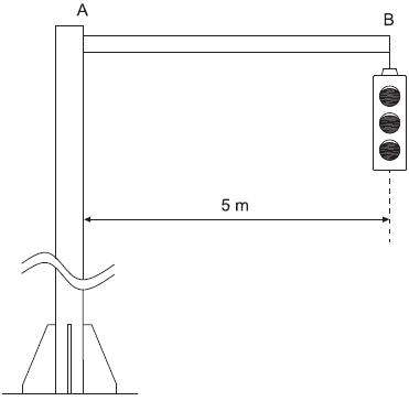
O semáforo apresentado na figura abaixo tem massa igual a 20 kg.

O tubo AB está em balanço (engastado em A e livre em B) e possui massa igual a 2 kg/m distribuída uniformemente ao longo do seu comprimento.
Se a aceleração da gravidade no local é g = 10 m/s2, qual o valor, em N.m, do máximo momento fletor atuante no tubo AB?
Provas
Questão presente nas seguintes provas