Magna Concursos
2271130 Ano: 2012
Disciplina: Engenharia Eletrônica
Banca: UFSCAR
Orgão: UFSCAR
Provas:

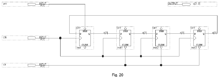
A sequência correta de contagem do circuito da figura 20 é:

Enunciado 2945637-1

 

Provas

Questão presente nas seguintes provas

Técnico em Eletrônica

60 Questões