
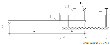
Considerando
a figura acima, que esquematiza um equipamento comumente utilizado em
obras rodoviárias, na qual alguns dos componentes são indicados por
algarismos romanos, julgue o item subsequente.
O componente III identifica um medidor de deslocamentos verticais.
O componente III identifica um medidor de deslocamentos verticais.
Provas
Questão presente nas seguintes provas