Analise o circuito a seguir.

No circuito acima a entrada Vi é um sinal analógico, CK é um sinal de clock e os resistores têm o mesmo valor. Assinale a opção que apresenta a denominação desse circuito.
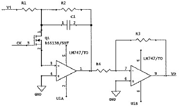
Analise o circuito a seguir.

No circuito acima a entrada Vi é um sinal analógico, CK é um sinal de clock e os resistores têm o mesmo valor. Assinale a opção que apresenta a denominação desse circuito.