
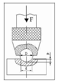
A figura acima mostra um sistema consistindo de uma esfera montada em um suporte que é utilizado para medir dureza em um ensaio Brinell. O ensaio está sendo feito em um aço-liga do tipo SAE 4140. Considerando essa figura, julgue os itens seguintes, a respeito do referido ensaio.
A dureza Brinell é a relação entre a carga F aplicada e a área da calota esférica impressa no material ensaiado.