- Desenho Técnico
- Expressão e Representação
- Instalações PrediaisInstalações Elétricas
- Instalações PrediaisTelefonia
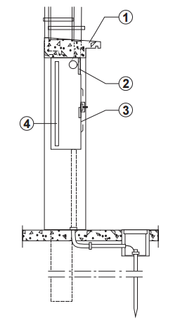
A figura abaixo representa o corte de um poste de entrada de energia e telefone.

Os materiais apontados em sequência numérica de 1 a 4 são, correta e respectivamente,