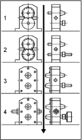
A figura a seguir mostra uma montagem peça a peça:

Alguns cuidados devem ser tomados em uma montagem peça a peça, entre os quais:
I. Limpeza e secagem de todas as peças antes da montagem do conjunto.
II. Uso de lubrificante adequado ao conjunto.
III. Sequência correta no aperto de todos os parafusos/porcas, evitando empenamentos.
IV. Verificação e ajustagem das folgas entre as engrenagens.
V.
Estão corretas apenas as afirmativas