Magna Concursos
2254133 Ano: 2020
Disciplina: Engenharia Eletrônica
Banca: Marinha
Orgão: Marinha

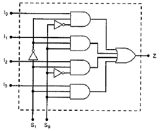
Analise o diagrama a seguir.

Enunciado 3388001-1

Assinale a opção que apresenta o nome do circuito lógico correspondente ao diagrama acima.

 

Provas

Questão presente nas seguintes provas

Corpo Auxiliar de Praças - Eletrônica

50 Questões