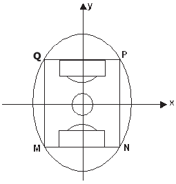
Num estádio de futebol em forma de elipse, o gramado é o retângulo MNPQ, inscrito na cônica, conforme mostra a figura. Escolhendo o sistema de coordenadas cartesianas indicado e tomando o metro como unidade, a elipse é descrita pela equação !$ {\large{x^2 \over 36^2}}+{\large{y^2 \over 60^2}}=1 !$. Sabe-se também que os focos da elipse estão situados em lados do retângulo MNPQ.

Assim, a distância entre as retas MN e PQ é
Provas
Questão presente nas seguintes provas