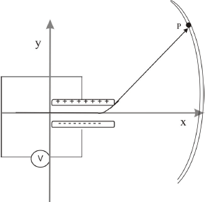
O esquema abaixo representa um corte transversal de um tubo de raios catódicos.

Nele duas placas paralelas carregadas criam no seu interior um campo elétrico uniforme, que faz com que o feixe atinja o ponto S, da tela, formando uma mancha luminosa. Se a tensão uniforme V aplicada às placas for substituída por uma tensão alternada, a tela do tubo mostrará