Magna Concursos
3088513 Ano: 2009
Disciplina: Química
Banca: CESGRANRIO
Orgão: CMB
Provas:

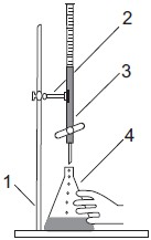
Enunciado 3370116-1

Sobre o sistema apresentado na figura acima e os equipamentos que o compõem, tem-se que

 

Provas

Questão presente nas seguintes provas

Técnico de Química

30 Questões