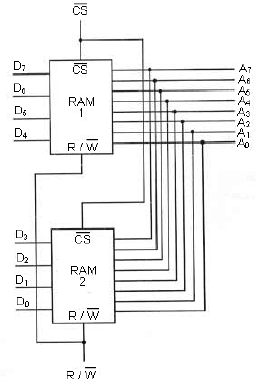
O circuito abaixo representa uma forma de expansão para memórias RAM. O endereço de localidade inicial, localidade final e a sua capacidade são, respectivamente,

O circuito abaixo representa uma forma de expansão para memórias RAM. O endereço de localidade inicial, localidade final e a sua capacidade são, respectivamente,
