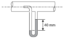
Um tubo de Pitot é um instrumento de medição muito utilizado para medir a velocidade de escoamento de gases. Um tubo de Pitot foi colocado juntamente com um manômetro diferencial em uma tubulação de escoamento de ar, conforme mostra a figura.

Sabendo-se que o fluido utilizado no manômetro diferencial é água com peso específico igual a 10 000 N/m3 e que o peso específico do ar é igual a 10 N/m3, qual a velocidade de escoamento do ar no ponto de medição do interior do tubo em m/s?
Adotar g = 10 m/s2