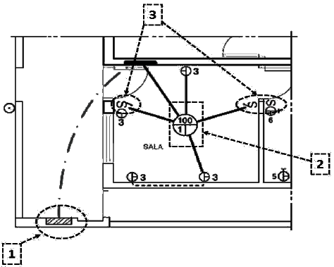
Conforme a figura abaixo, que representa o detalhe da planta baixa de um projeto de instalação elétrica, marque a alternativa que contém a ordem correta dos elementos indicados pelos números.

Conforme a figura abaixo, que representa o detalhe da planta baixa de um projeto de instalação elétrica, marque a alternativa que contém a ordem correta dos elementos indicados pelos números.
