Considere a figura:

Os elementos indicados pelos números 1, 2, 3, 4 e 5, na estrutura da figura, representam, respectivamente:
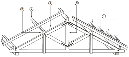
Considere a figura:

Os elementos indicados pelos números 1, 2, 3, 4 e 5, na estrutura da figura, representam, respectivamente: