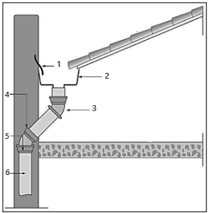
Sobre captação de águas pluviais, analise a imagem a seguir:

(Fonte: JÚNIOR, Roberto de Carvalho. Instalações prediais hidráulico- -sanitárias: princípios básicos para elaboração de projetos. São Paulo: Blucher, 2014. 1ª ed. digital 2018. 262p.)
A associação está correta em

(Fonte: JÚNIOR, Roberto de Carvalho. Instalações prediais hidráulico- -sanitárias: princípios básicos para elaboração de projetos. São Paulo: Blucher, 2014. 1ª ed. digital 2018. 262p.)
A associação está correta em