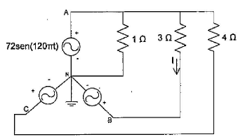
Observe a figura a seguir.

Com relação ao circuito acima, calcule a corrente |, onde o neutro permite ao usuário o acesso a dois valores de tensão, de fase e de linha, e assinale a opção correta.
Observe a figura a seguir.

Com relação ao circuito acima, calcule a corrente |, onde o neutro permite ao usuário o acesso a dois valores de tensão, de fase e de linha, e assinale a opção correta.