
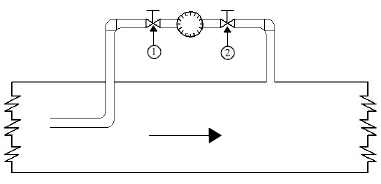
A figura acima apresenta a instalação de um manômetro com dois registros e dois tubos para medição de pressão em um trecho de um duto de ar-condicionado, em que o fluxo do ar está indicado pela seta. Acerca das pressões que podem ser indicadas no manômetro, julgue o item a seguir.
Com ambos os registros abertos, o manômetro indicará a pressão total.