Magna Concursos
950382 Ano: 2016
Disciplina: Informática
Banca: VUNESP
Orgão: UNESP
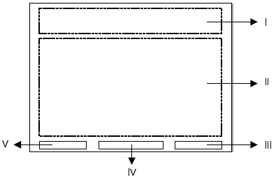
Sobre cabeçalhos e rodapés de slides no Impress do Apache Open Office 4, observe o layout padrão exibido na figura.
Enunciado 950382-1
Por padrão, a data e a hora serão inseridas na seguinte posição do slide:
 

Provas

Questão presente nas seguintes provas