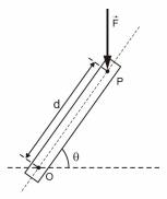
Uma força vertical de módulo F atua em um ponto P de uma alavanca rígida e homogênea que pode girar em torno de um eixo O. A alavanca possui comprimento d, entre os pontos P e O, e faz um ângulo θ com a direção horizontal, conforme figura abaixo.
A força !$ \overline F !$ gera, assim, um torque sobre a alavanca. Considere uma outra força !$ \overline G !$ , de menor módulo possível, que pode ser aplicada sozinha no ponto P e causar o mesmo torque gerado pela força !$ \overline F !$ .
Nessas condições, a opção que melhor apresenta a direção, o sentido e o módulo G da força !$ \overline G !$ é
Provas
Questão presente nas seguintes provas
Curso de Formação de Oficiais Aviadores (CFOAV)
64 Questões