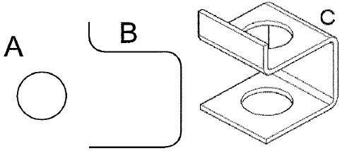
Assinale as figuras a seguir.

Assinale a opção que relaciona a sequência de comandos do AUTOCAD que viabiliza o resultado do desenho da figura C, acima, partindo-se dos desenhos representados nas figuras A-POLYLINE e B-CIRCLE.
Provas
Questão presente nas seguintes provas