Magna Concursos
2254562 Ano: 2020
Disciplina: Engenharia Mecânica
Banca: Marinha
Orgão: Marinha

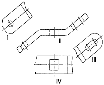
A figura abaixo representa vistas geométricas de uma mesma peça.

Enunciado 3388482-1

Os índices I, II, III e IV são, respectivamente:

 

Provas

Questão presente nas seguintes provas

Corpo Auxiliar de Praças - Motores

50 Questões