Texto para o item
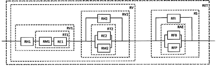
Um especialista em confiabilidade analisa a ocorrência de colisão entre dois veículos, 1 e 2, em um cruzamento controlado por um semáforo, decorrente apenas de falha em um dos veículos ou no semáforo. Como item de segurança, o semáforo tem duas fontes de alimentação elétrica: concessionária de energia elétrica (fonte principal) e bateria (fonte secundária), projetada para entrar em funcionamento sempre que faltar energia da concessionária (condição de redundância em espera). Como ferramenta de análise dessa colisão, denominada evento de topo (ET), com probabilidade de ocorrência P(ET), o especialista preparou a árvore de falhas mostrada abaixo, com a seguinte notação para as probabilidades de ocorrência dos eventos associados às falhas primárias, contidos em círculos: H1 → P(H1); M1 → P(M1); E1 → P(E1); H2 → P(H2); M2 → P(M2); E2 → P(E2); FP → P(FP); FB → P(FB); FI → P(FI). As probabilidades de ocorrência dos eventos intermediários na árvore, contidos nos retângulos, são denotadas por: T1 → P(T1); V1 → P(V1); T2 → P(T2); V2 → P(V2); V → P(V); AE → P(AE); S → P(S).

A partir da situação descrita no texto, considere que, buscando um bom entendimento da situação, o especialista tenha elaborado o diagrama de blocos de confiabilidade mostrado abaixo, com a seguinte notação para os respectivos blocos de confiabilidade: H1 → RH1; M1 → RM1; E1 → RE1; T1 → RT1; V1 → RV1; H2 → RH2; M2 → RM2; E2 → RE2; T2 → RT2; V2 → RV2; V → RV; FP → RFP; FB → RFB; AE → RAE; FI → RFI; S → RS; ET → RET.

Com relação à situação apresentada, julgue o item a seguir.
A confiabilidade do semáforo quanto à alimentação elétrica é igual a !$ 1-[P(FP)+P(FB)-P(FP) \times P(FB)] !$.