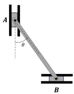
A figura a seguir mostra uma barra de 1m de comprimento ligada, por pinos, a trilhos que deslizam, sem atrito, em A na vertical para baixo e em B na horizontal para a direita.

No instante em que o ângulo da barra com a vertical é igual a \( \theta \) = 30°, a aceleração do ponto A da barra possui módulo igual a 4m/s2 e sua velocidade angular é igual a 2rad/s.
Para o instante em que \( \theta \) = 30°, o módulo da aceleração angular, em rad/s2, da barra é igual a
Provas
Questão presente nas seguintes provas
Tecnologista Jr - AOCS
45 Questões
Tecnologista Jr - Satélites/Missões Espaciais
45 Questões