- Materiais de Construção MecânicaPropriedades e Comportamentos dos Materiais
- Mecânica dos SólidosElasticidade Linear, Plasticidade, Fratura, Fadiga e Flambagem
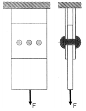
A junta da figura é composta por 3 chapas e 3 rebites e está sujeita a uma força F, como indicado. A tensão admissível ao
cisalhamento do material dos rebites é
. A expressão para determinar o diâmetro mínimo dos rebites, para que não ocorra o
cisalhamento dos mesmos, é:
