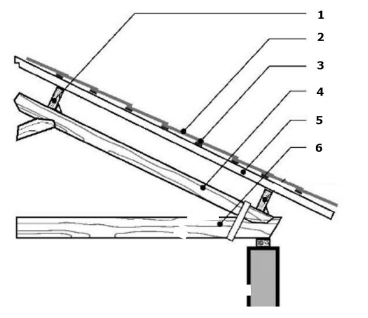
A representação gráfica de um telhado tem hachuras e denominações específicas. Conforme a imagem abaixo, assinale a alternativa que relaciona, correta e respectivamente, os números da figura aos elementos que compõem um telhado.

Provas
Questão presente nas seguintes provas