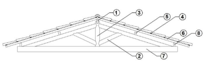
Identifique os elementos componentes da estrutura de madeira e numere a coluna da direita de acordo com o diagrama à esquerda.

( ) Pendural
( ) Caibros
( ) Cumeeira
( ) Terça
( ) Frechal
( ) Ripas
( ) Escora
( ) Linha
Assinale a alternativa que apresenta a numeração correta, de cima para baixo.