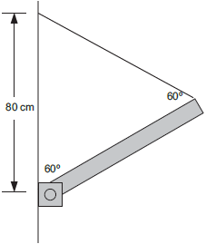
Uma barra AB homogênea, com 250g e 80cm de comprimento, tem uma de suas extremidades engastada em uma parede e a outra extremidade sustentada por um fio inextensível e de peso desprezível, como mostra a figura. Considerando que a aceleração da gravidade vale 10m/s2, a intensidade da reação R, exercida pela parede sobre a barra, e o ângulo que essa reação faz com a parede valem, respectivamente:
