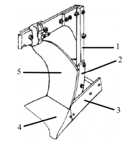
Na figura abaixo é apresentada a constituição de uma aiveca. As partes representadas pelos números 1, 2, 3, 4 e 5 são, RESPECTIVAMENTE:

Na figura abaixo é apresentada a constituição de uma aiveca. As partes representadas pelos números 1, 2, 3, 4 e 5 são, RESPECTIVAMENTE:
