Magna Concursos
1844076 Ano: 2003
Disciplina: Engenharia Mecânica
Banca: CESPE / CEBRASPE
Orgão: Câm. Deputados

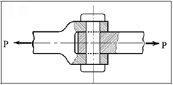
Enunciado 2655591-1

A figura acima mostra o esquema de uma junta articulada em torno de um pino. Com relação a essa informação, julgue o item a seguir.

Considerando d o diâmetro do pino, a sua tensão cisalhante vale !$ \tau = { P \over 2 \pi d^2}. !$

 

Provas

Questão presente nas seguintes provas

Analista Legislativo - Engenharia Mecânica

200 Questões