Magna Concursos
62501 Ano: 2008
Disciplina: Engenharia Mecânica
Banca: Marinha
Orgão: Marinha

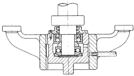
Observe o desenho abaixo.

Enunciado 3347083-1

Os rolamentos superior e inferior são, respectivamente:

 

Provas

Questão presente nas seguintes provas

Corpo Auxiliar de Praças - Mecânica

50 Questões