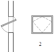
O quadro à esquerda apresenta as representações gráficas em corte e vista de esquadrias numeradas de 1 a 4 e a coluna da direita, a denominação de cada esquadria. Numere a coluna da direita de acordo com as representações gráficas à esquerda.
![]() |
( ) Esquadria Basculante |
![]() |
( ) Esquadria de Correr |
![]() |
( ) Esquadria Max-ar |
![]() |
( ) Esquadria Guilhotina |
Marque a sequência correta.
Provas
Questão presente nas seguintes provas
Professor PEBTT - Desenho Técnico/Arquitetônico
40 Questões



