Magna Concursos
85830 Ano: 2008
Disciplina: Engenharia Naval
Banca: CESGRANRIO
Orgão: Petrobrás

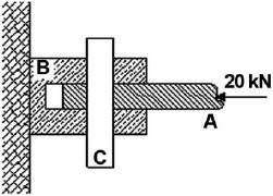
A figura abaixo ilustra a conexão da haste A pelo pino C ao suporte B. A haste A encontra-se solicitada à compressão. O esforço de compressão sob a haste A vale 20 kN e a área da seção transversal do pino C vale 400 mm2.

Enunciado 85830-1

Nesta situação, os valores do esforço cortante e da tensão de cisalhamento média sob o pino C são, respectivamente, iguais a

 

Provas

Questão presente nas seguintes provas