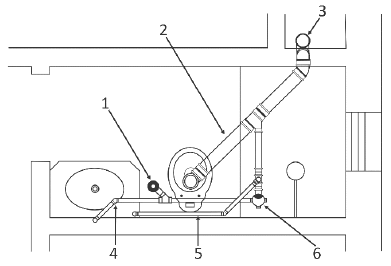
Na figura a seguir temos um exemplo de um Sistema Predial de Esgoto Sanitário de um banheiro em um piso superior de alguma edificação.

Fonte: ABNT NBR-8160:1999.
A partir da figura apresentada, assinale a alternativa correta.
Provas
Questão presente nas seguintes provas
Engenheiro Civil - Sistemas Hidrossanitários
80 Questões