Magna Concursos
263405 Ano: 2013
Disciplina: Engenharia Mecânica
Banca: CESGRANRIO
Orgão: Liquigás
Provas:
Enunciado 263405-1
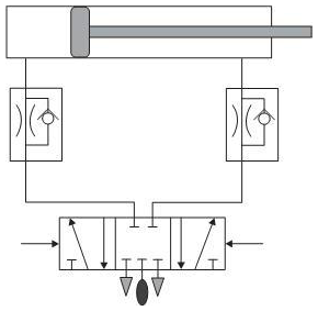
A Figura acima mostra parte do circuito pneumático utilizado em um sistema de automação. O controle do movimento do atuador linear é realizado pelas válvulas de controle de fluxo existentes nas linhas de alimentação das câmaras de avanço e de recuo.

Esse controle é realizado com o ar que
 

Provas

Questão presente nas seguintes provas

Engenheiro Mecânico Jr

70 Questões