Magna Concursos
2152581 Ano: 2021
Disciplina: Arquitetura
Banca: Unesc
Orgão: Pref. Laguna-SC
Provas:

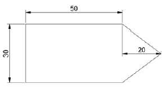
Assinale a alternativa que corresponde a área do objeto abaixo, considerando as dimensões do desenho em metros (m):

Enunciado 3500771-1

 

Provas

Questão presente nas seguintes provas

Arquiteto

20 Questões