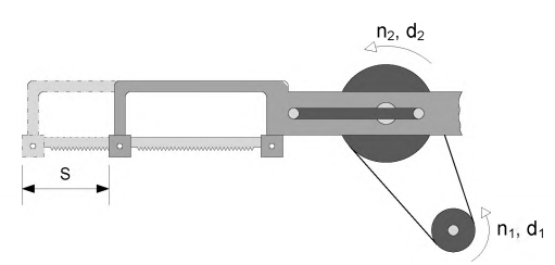
As máquinas de serra são bastante utilizadas para seccionar materiais nos processos de fabricação. Considerando a
configuração de uma serra de arco, cujo mecanismo de manivela é apresentado na figura a seguir, calcule a velocidade
média de corte. Dados: S = 280mm; n1 = 135rpm; d1 = 60mm; d2 = 180mm.

