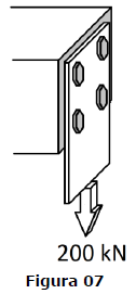
Quatro parafusos de aço com 21 mm de diâmetro são utilizados para fixar a chapa de aço em uma viga de madeira, conforme Figura 07 abaixo:

Sabendo que a chapa suportará uma carga de 200 kN e que o limite da tensão de cisalhamento do aço utilizado é de 360 MPa, o coeficiente de segurança para esse projeto é de aproximadamente: